project-highlight-image

Design of a LOX-RP1 blow-down propulsion system for in-space low thrust application

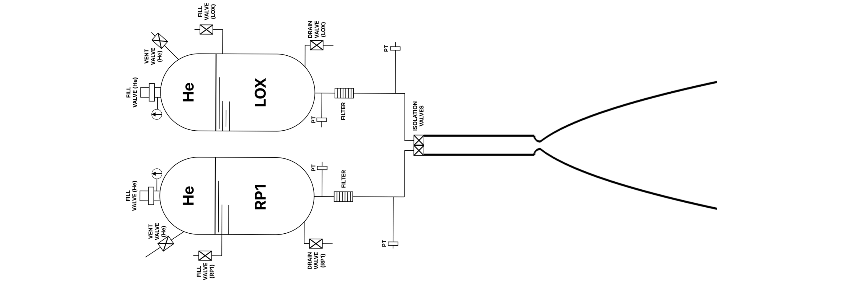
Conceptual design of a LOX–RP1 liquid blow-down rocket engine operating in vacuum, meeting stringent constraints of 1 kN initial thrust and chamber pressure from 50 to 20 bar within a compact system architecture. The study integrates nozzle, chamber, injector, tanks, and feed system design, with an iterative performance analysis capturing blow-down dynamics, while also assessing additive manufacturing uncertainties and RP-1 regenerative cooling feasibility.
Home
Questions?
hero-image

Mirko

Project Timeline

Feb 2024 - Jun-2024

HighlightS

  • Nozzle Design: Engineered an 80% bell-shaped nozzle with an expansion ratio of 280 utilizing RAO approach to minimize flow divergence losses, delivering the fully parameterized 3D CAD model
  • Thermochemical Engine Sizing: Led the nominal design phase and thermodynamic modeling using NASA CEA, mapping combustion chamber and throat conditions across varying transient pressure regimes
  • Transient O/F Ratio Optimization: Executed thermodynamic trade studies to optimize the initial O/F ratio to 2.0, successfully maximizing specific impulse retention and reducing thrust degradation throughout the blow-down discharge cycle
  • Regenerative & Radiative Cooling Architecture: Developed a 1D steady-state thermal model for a hybrid cooling system, integrating an RP-1 regenerative cooling jacket with a high-emissivity Niobium C-103 radiative nozzle extension
  • Data Modeling & 3D Surface Fitting: Processed over 150,000 thermodynamic data points from NASA CEA to generate highly accurate (R2 > 0.9998) 5th-order polynomial 3D surfaces, mapping characteristic velocity as a function of dynamic combustion pressure and O/F ratios

SKILLS

MATLAB
NASA CEA
3D CAD (SolidWorks)
Heat Transfer Analysis
Blow-down Architecture

External Links

Problem Statement

The present report aims to analyse the design of a liquid blow-down propulsion system based on LOX-RP1 to be operated in vacuum. Firstly, an overview of the literature concerning nozzle losses, uncertainties in metallic additive manufacturing and blow-down architectures is illustrated. Subsequently, the nominal design of the entire propulsion system is performed, rigorously discussing the technical choices behind the design of the architecture, nozzle, combustion chamber, injection plate, feeding lines and tanks. The constraints set in the technical specifications are taken into account throughout the whole design phase. The engine has to respect stringent requirements: an initial thrust of 1 kN, an initial chamber pressure of 50 bar down to a minimum of 20 bar. Moreover, the 80% of a cylinder 2 m long and 1 m wide is considered for the allocation of tanks, combustion chamber and convergent section of the nozzle. The 20% of empty space is left vacant for all those components necessary for the effective operation of this propulsion system. Once the geometry is fixed, an iterative method is implemented to study the evolution of thermodynamics, fluid dynamics and performances of the system. The rationale behind this decision derives from the necessity to correctly handle the uneven pressure and mass flow rate change of fuel and oxidizer due to the blow-down evolution. A critical analysis of the results and the trends of all the parameters will be presented in the report. Finally, a further analysis of the uncertainties due to additive manufacturing is performed and a study on the possibility of realizing engine cooling with RP1 is carried out.